GM väcker liv i tvåtaktsmotorn igen – men frågan är om den gamla trotjänaren verkligen får en chans på vägarna denna gång.
Tvåtaktsmotorn på väg tillbaka – där du minst anar den


Mest läst i kategorin
Tvåtaktaren har för många blivit ett minne från skogsstigar, moppegarage och ungdomliga misstag. För den som inte ägnat år åt oljeblandning och blå rök känns den nästan museal.
Ändå är det just den här motortypen som nu fångat General Motors intresse.
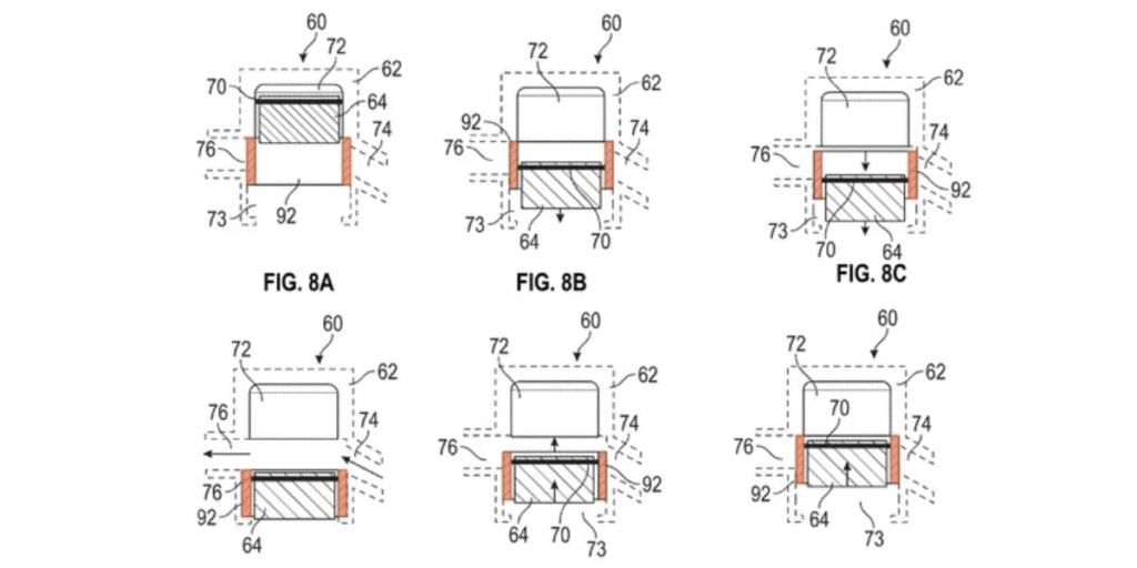
Ett nytt patent visar att företaget undersöker hur en tvåtaktsmotor skulle kunna ta plats i framtida hybridbilar. Det handlar inte om en nostalgitripp utan om en konstruktion där de klassiska cylinderportarna täcks av ett linjärt ventilarrangemang på insidan av cylindern.
Poängen är enkel: minska slitaget på kolvringarna, en detalj som historiskt gjort tvåtaktare mer underhållskrävande än deras fyrtaktskusiner.

Gamla knep i ny förpackning
Traditionellt har tvåtaktaren skött sin gasväxling genom enkla portöppningar som kolven själv hanterar. GM:s lösning innebär att ventilerna rör sig längs cylinderväggen och styr flödet mer precist.
Det kan ge stabilare tätning och bättre livslängd – något som lockar när varje komponent i en hybrid ska leva länge.
Konstruktionen kan dessutom påverka tajmningen eftersom ventilerna inte behöver följa kolvens rörelser fullt ut. Det låter modernt, men samtidigt är det inget okänt grepp. Historien är full av exempel på allt från rörliga reedventiler till de roterande skapelser som gjort Rotax populärt.

Senaste nytt
Emissionsfrågan hänger kvar
Frågan är dock om tekniken gör något åt det som en gång skickade tvåtaktaren i skamvrån: utsläppen. I patentet visar GM ventiler som öppnar och stänger samtidigt på insugs- och avgassida, ett upplägg som ger effektiv spolning men inte direkt dämpar mängden oförbrända kolväten.
Det kan förstås finnas fler lösningar på ritbordet, men utifrån det som visas nu känns det osannolikt att parkeringarna snart fylls av det karakteristiska ring-ding-ding-ljudet. Tvåtaktaren må ha charm, men vägen tillbaka till offentlig trafik är fortfarande lång – även med GM som påhejare.
Toyota på väg att spränga elbilsgränserna med solid state-batteriet
Toyotas satsning på solid state-batterier kan förändra elbilens framtid och öppna dörren för helt nya drivlinor och räckvidder. När Toyota kliver fram och
Missa inte:
Farliga medicintips sprids i dina flöden: “Kan förvärra sjukdomar”. News 55
Nya aktieregler får kritik: “Absurt att tro att det påverkar”. Realtid
Nytt vägmärke införs i Europa: Detta betyder den rombformade skylten. E55

Åsa Wallenrud är en driven och erfaren motorjournalist med en stark passion för bilvärlden och teknik, gärna i kombination. Arbetat med varumärken som TV4 Nyhetsmorgon, Facit, M3, Lilla Gumman, Hem och Villamässor, Blocket, Byt Bil mfl. Har du en bra historia? Maila mig [email protected]

Åsa Wallenrud är en driven och erfaren motorjournalist med en stark passion för bilvärlden och teknik, gärna i kombination. Arbetat med varumärken som TV4 Nyhetsmorgon, Facit, M3, Lilla Gumman, Hem och Villamässor, Blocket, Byt Bil mfl. Har du en bra historia? Maila mig [email protected]












